Архів новин    Актуально    Шкільний екран    Зверніть увагу!    Соціальний захист     Гребінківська ОТГ    Лубенська РДА    Прес-реліз    Технології    Новини Полтавщини TV   


01.12.2020

Схемы АВР: оптимальные решения


Устройства АВР обеспечивают подачу электроэнергии от двух или нескольких независимых взаимно резервируемых источников питания.


Щит аварийного переключения серии ЩАП 33

Устройства АВР обеспечивают подачу электроэнергии от двух или нескольких независимых взаимно резервируемых источников питания. Перебой в питании при нарушении электроснабжения от одного из источников допускается только на время переключения на резервное питание. Для этого случая - возникновения аварийных ситуаций предназначен щит аварийного переключения серии ЩАП 33, с соответствующем оборудованием. Такие щиты выпускает Подольский завод электромонтажных изделий. ЩАП 33 представляет собой оболочку, состоящую из сварного корпуса, крышки и устройств для ввода-вывода кабелей.

Устройства автоматического ввода резерва (АВР) предназначены для восстановления питания потребителей путем автоматического включения резервного источника питания при отключении или отклонении параметров рабочего источника питания:
  • обрыв фазы или нейтрали,
  • перекос фаз,
  • чередования фаз,
  • превышение / понижение номинального напряжения,
  • отклонение по частоте.
 

Щит аварийного переключения серии ЩАП
 

Сферы применения АВР

  • промышленные предприятия, где необходима бесперебойная подача питания;
  • офисные, коммерческие и административные здания;
  • квартиры и дома, где возможен перепад напряжения.

Схемы АВР: обзор оптимальных решений

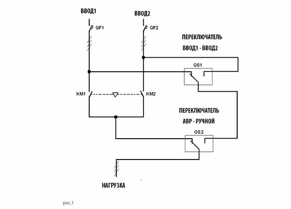
На рис.1 изображена схема АВР на основе контакторов с коммутирующей способностью до 1600 А, которая работает на одну нагрузку. В схеме предусмотрено переключатели:
  • переключатель "АВР-РУЧНОЙ", который предназначен для переключения режима работы: АВР или ручное переключение;
  • переключатель "ВВИД1-ВВИД2" предназначен для переключения вводов в ручном режиме.
Данная схема имеет существенные преимущества: обеспечивает функции АВР в случае неисправности контакторов или схемы управления.

Схемы АВР: оптимальные решения
 

На рис.2 изображена схема на основе моторизованного перекидного рубильника Socomec ATyS М с коммутирующей способностью до 160 А (выполнение на DIN-рейку) и перекидного рубильника Socomec ATyS с коммутирующей способностью до 3200 А, которая работает на одну нагрузку.

Преимущества схемы: переключение вводов осуществляется рубильником с помощью электропривода в автоматическом режиме, а в случае неполадки - без дополнительного оборудования с помощью ручки в ручном режиме.

Схемы АВР: оптимальные решения
 

На рис.3 изображена схема АВР на основе автоматических выключателей Terasaki с электроприводом с коммутирующей способностью от 125 А до 6300 А, которая работает на одну нагрузку. Автоматические выключатели выполняют две функции: защита и АВР.

Преимущества схемы: переключение вводов осуществляется автоматическими выключателями с помощью электропривода в автоматическом режиме, а в случае неполадки - без дополнительного оборудования с помощью ручки в ручном режиме.

Схемы АВР: оптимальные решения


Схожі матеріали:
👁 5746
Категорія: Прес-реліз
Теги: подачА электроэнергии, напряжение, Щит, ЩАП 33



Всього коментарів: 191 2 »

0
19 Тополь   (14.07.2022)
Пожалуй, так и есть.


0
18 Скатинка   (13.07.2022)
Информация очень интересная.


-1
17 Валерий   (13.07.2022)
Спасибо вам за информацию.


-1
16 Тимур   (13.07.2022)
Спасибо за предоставление информации.


-1
15 Диана   (12.07.2022)
Спасибо за предоставление информации.


-1
14 Иван   (12.07.2022)
Спасибо большое за подробную информацию.


0
13 Кац   (10.07.2022)
Отличный материал, спасибо.


-1
12 Долбень   (10.07.2022)
Большое спасибо вам за информацию.


-1
11 Nicolaslah   (23.06.2022)
Спасибо, очень позновательно!


-1
10 Павел   (22.06.2022)
Спасибо за полезную информацию.  Невероятно удобно, рекомендую smile

1-10 11-19
Додавати коментарі можуть лише зареєстровані користувачі.
[ Реєстрація | Вхід ]

СВІЖІ ПУБЛІКАЦІЇ

 







  Наші контакти: Полтавська обл. м. Гребінка
  ✉ admin@grebenka.com
  ☎ +38 (066) 372-49-57
  ✍ Зворотний зв'язок
  ! Інформація про сайт

Ми в соціальних мережах

Гребінка | Гребінківський міський сайт Grebenka.com © 2026

  💾 Знаєте про новину чи подію в місті? Повідомте і ми напишемо про це на сайті   Додати новину

   » Онлайн-опитування
   » Книга відгуків і пропозицій
   » FAQ Питання та відповіді
   » Реклама на сайті
   » Відправка SMS безкоштовно